1月6日,哪吒汽车这一名字如火箭般冲上了热搜榜单。此时此刻,哪吒汽车的官方网站仿佛被一层神秘的迷雾笼罩,用户试图访问时,只能无奈地面对一行冰冷的文字:“系统维护中,请稍后再试”。

自前晚十点的那一刻起,网络的海洋里开始泛起阵阵涟漪,不少网友纷纷发出疑问:哪吒汽车的官方网站为何无法访问?随着时间的推移,这一疑问逐渐汇聚成一股强大的洪流,而哪吒汽车的官方网站依旧固执地显示着那句让人心焦的维护提示。媒体们闻讯而动,纷纷试图揭开这层迷雾,然而哪吒汽车的官方客服电话却如同虚设,多次拨打均无人接听。 不甘心的媒体们转而将目光投向了哪吒汽车的体验中心,以意向购车者的身份致电询问。终于,一位销售人员回电,用平和的语气解释了这一尴尬的局面:原来,官网正在进行一场大规模的维护,预计下周就能恢复正常。
他还透露了一个好消息:哪吒汽车在1月4日已经重启了生产线,试驾服务也在有条不紊地进行中,“车子都有的,不用担心”。
然而,上证报的消息却给这股平静的水面投下了一颗巨石。据称,哪吒汽车的有关人士向上证报记者透露,公司正在进行系统维护,并预计午间能够解决问题。但这位人士也坦诚地表示,服务器确实出现了崩溃的情况,但并非因为遭遇了恶意攻击,而是维护过程中的意外。为了验证这一说法,媒体们再次出击,试图联系哪吒汽车的北京门店。然而,令人惊讶的是,在地图软件中搜索北京的哪吒汽车,搜索结果竟然寥寥无几,仅有6家门店显示在列。车东西与部分门店取得联系后,更是发现了一个惊人的事实:这些门店已经悄然换上了其他品牌的招牌。
尽管官网和门店都陷入了困境,但哪吒汽车的APP却像是一股清流,依然能够正常访问。用户们可以通过APP联系到官方的人工客服,询问关于提车的各种问题。客服人员耐心地解答着用户的疑问,表示交付时间会根据具体情况而定。如果门店有现车,一般7天左右就能提车;如果工厂线下有车源,一般14天左右会发运;如果需要工厂根据订单排产,则一般需要30-60天左右。
然而,当媒体试图通过APP的客服询问工厂是否已经复产时,却遭遇了尴尬的沉默。客服人员没有给出任何回应,仿佛是在刻意回避这个问题。与此同时,社交媒体上也开始出现了哪吒汽车车主的抱怨声。一位网友发帖称,自己的哪吒汽车车机屏幕突然弹出设备授权提醒,显示“授权已到期,请联系厂商处理”。他还表示,哪吒汽车的400电话已经打不通,APP的授权也已经到期。这一消息无疑给哪吒汽车的困境雪上加霜。
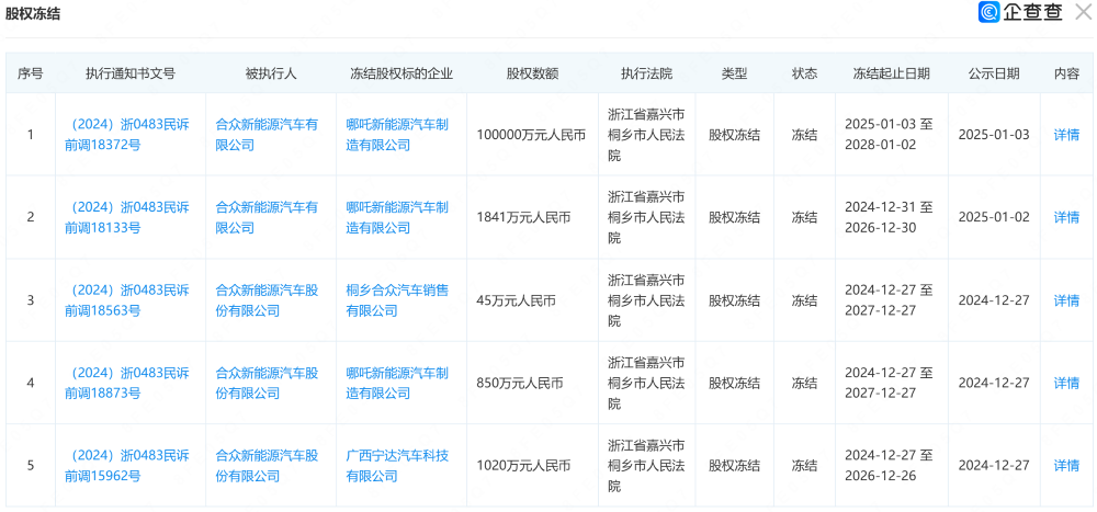
除了这些表面的困境外,哪吒汽车还面临着更为严峻的挑战。企查查上的消息显示,2025年1月3日,合众新能源汽车有限公司新增了一条股权冻结信息。被冻结股权的企业正是哪吒新能源汽车制造有限公司,冻结股权数额高达10亿人民币,冻结期限长达三年之久。同时,哪吒汽车的主体公司合众新能源汽车有限公司还存在多条股权冻结信息以及一条被执行人信息,执行金额超过911万。
而在此前的消息中,哪吒汽车还被传出启动了大规模裁员的消息,比例最高可能达到70%。虽然哪吒汽车官方对此予以了否认,并表示公司正在进行业务精简、组织优化和薪酬绩效改革等措施,但从官方的回应中不难看出,裁员和降薪已经是板上钉钉的事情,只是具体比例尚未透露。更令人唏嘘的是,2024年12月6日,哪吒汽车官方宣布了一则重大人事变动:因公司战略调整,张勇不再担任CEO一职,转而担任公司顾问。而哪吒汽车的创始人、董事长方运舟则兼任了公司CEO一职。在全员信中,方运舟表示哪吒汽车将通过一系列改革措施全力以赴实现IPO目标,并计划在未来2-3年内实现销量一半在国内、一半在国外的目标。同时他还透露了一个振奋人心的消息:哪吒汽车有望在2025年实现整体毛利率转正并在2026年实现公司整体盈利。 尽管面临着诸多挑战和困境,但哪吒汽车并未放弃。他们正在用实际行动证明自己的实力和决心。在未来的日子里,哪吒汽车能否成功逆袭、重振雄风?让我们拭目以待!
责任编辑:宋姗姗